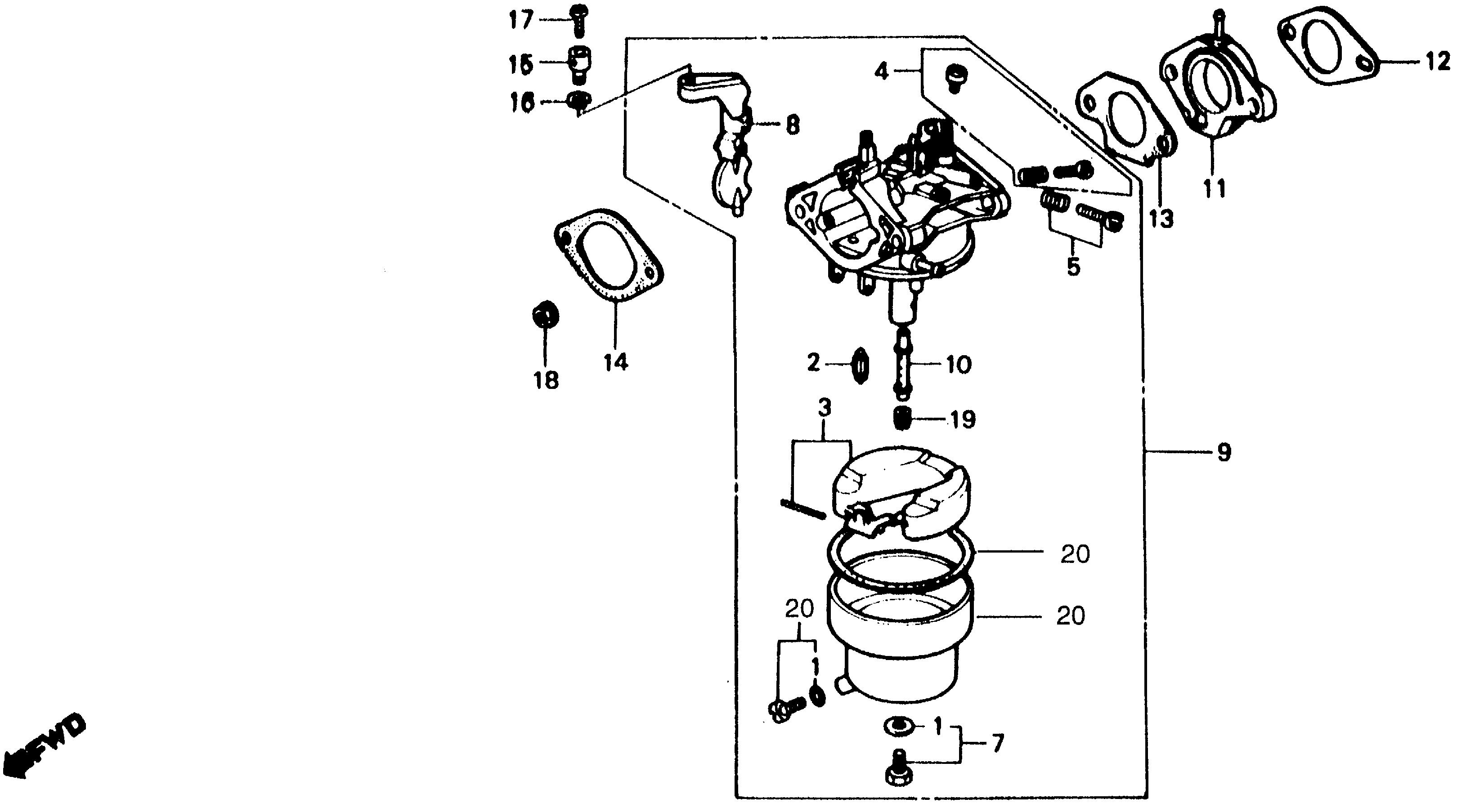
Ref No
Part Number
Description
Serial Range
Qty
Price
Ref No 1
Part Number 16010-YA0-801
Description GASKET SET
Serial Range 1000001 - 9999999
Qty
Price $25.48
Add To Cart
Ref No 2
Part Number 16011-KCK-910
Description VALVE SET, FLOAT
Serial Range 1000001 - 9999999
Ref No 3
Part Number 16013-890-015
Description FLOAT SET
Serial Range 1000001 - 9999999
Ref No 4
Part Number 16016-730-015
Description SCREW SET A
Serial Range 1000001 - 9999999
Qty
Price $21.70
Add To Cart
Ref No 4
Part Number 16016-YA0-801
Description SCREW SET
Serial Range 1000001 - 9999999
Qty
Price $21.70
Add To Cart
Ref No 5
Part Number 16016-896-005
Description SCREW SET A
Serial Range 1000001 - 9999999
Ref No 5
Part Number 16016-YA1-801
Description SCREW SET A
Serial Range 1000001 - 9999999
Qty
Price $19.06
Add To Cart
Ref No 6
Part Number 16024-890-731
Description SCREW SET, DRAIN (NOT AVAILABLE)
Serial Range 1000001 - 9999999
Ref No 7
Part Number 16028-883-005
Description SCREW SET B
Serial Range 1000001 - 9999999
Ref No 7
Part Number 16028-ZK7-S91
Description SCREW SET
Serial Range 1000001 - 9999999
Qty
Price $13.54
Add To Cart
Ref No 8
Part Number 16044-890-005
Description CHOKE SET (NOT AVAILABLE)
Serial Range 1000001 - 9999999
Qty
Price $27.12
Add To Cart
Ref No 9
Part Number 16100-ZA1-603
Description CARBURETOR ASSY. (BB35F C/D) (NOT AVAILABLE)
Serial Range 1000001 - 1044474
Ref No 9
Part Number 16100-ZA1-604
Description CARBURETOR ASSY. (BB35F E) (NOT AVAILABLE)
Serial Range 1044475 - 9999999
Ref No 9
Part Number 16100-ZA1-605
Description CARBURETOR ASSY. (BB35F F) (NOT AVAILABLE)
Serial Range 1000001 - 9999999
Ref No 10
Part Number 16166-ZA1-015
Description NOZZLE, MAIN (NOT AVAILABLE)
Serial Range 1000001 - 9999999
Ref No 11
Part Number 16211-893-000
Description INSULATOR, CARBURETOR
Serial Range 1000001 - 9999999
Ref No 12
Part Number 16212-890-306
Description GASKET, INSULATOR
Serial Range 1000001 - 9999999
Ref No 12
Part Number 16212-890-800
Description GASKET, INSULATOR
Serial Range 1000001 - 9999999
Qty
Price $1.98
Add To Cart
Ref No 13
Part Number 16221-890-306
Description GASKET, CARBURETOR
Serial Range 1000001 - 9999999
Ref No 13
Part Number 16221-890-800
Description GASKET, CARBURETOR
Serial Range 1000001 - 9999999
Qty
Price $3.72
Add To Cart
Ref No 14
Part Number 16269-890-306
Description GASKET, AIR CLEANER
Serial Range 1000001 - 9999999
Ref No 14
Part Number 16269-890-800
Description GASKET, AIR CLEANER
Serial Range 1000001 - 9999999
Qty
Price $2.68
Add To Cart
Ref No 15
Part Number 16617-890-010
Description HOLDER, CABLE
Serial Range 1000001 - 9999999
Qty
Price $9.48
Add To Cart
Ref No 16
Part Number 90605-230-000
Description CIRCLIP (5MM)
Serial Range 1000001 - 9999999
Ref No 17
Part Number 93500-04008-0A
Description SCREW, PAN (4X8)
Serial Range 1000001 - 9999999
Qty
Price $2.10
Add To Cart
Ref No 18
Part Number 94050-06080
Description NUT, FLANGE (6MM)
Serial Range 1000001 - 9999999
Ref No 19
Part Number 99101-124-0920
Description JET, MAIN (#92)
Serial Range 1000001 - 9999999
Qty
Price $11.94
Add To Cart
Ref No 19
Part Number 99101-124-0950
Description JET, MAIN (#95)
Serial Range 1000001 - 9999999
Qty
Price $13.34
Add To Cart
Ref No 19
Part Number 99101-124-0980
Description JET, MAIN (#98)
Serial Range 1000001 - 9999999
Qty
Price $13.34
Add To Cart
Ref No 20
Part Number 16015-896-505
Description CHAMBER SET, FLOAT
Serial Range 1000001 - 9999999
Qty
Price $38.48
Add To Cart