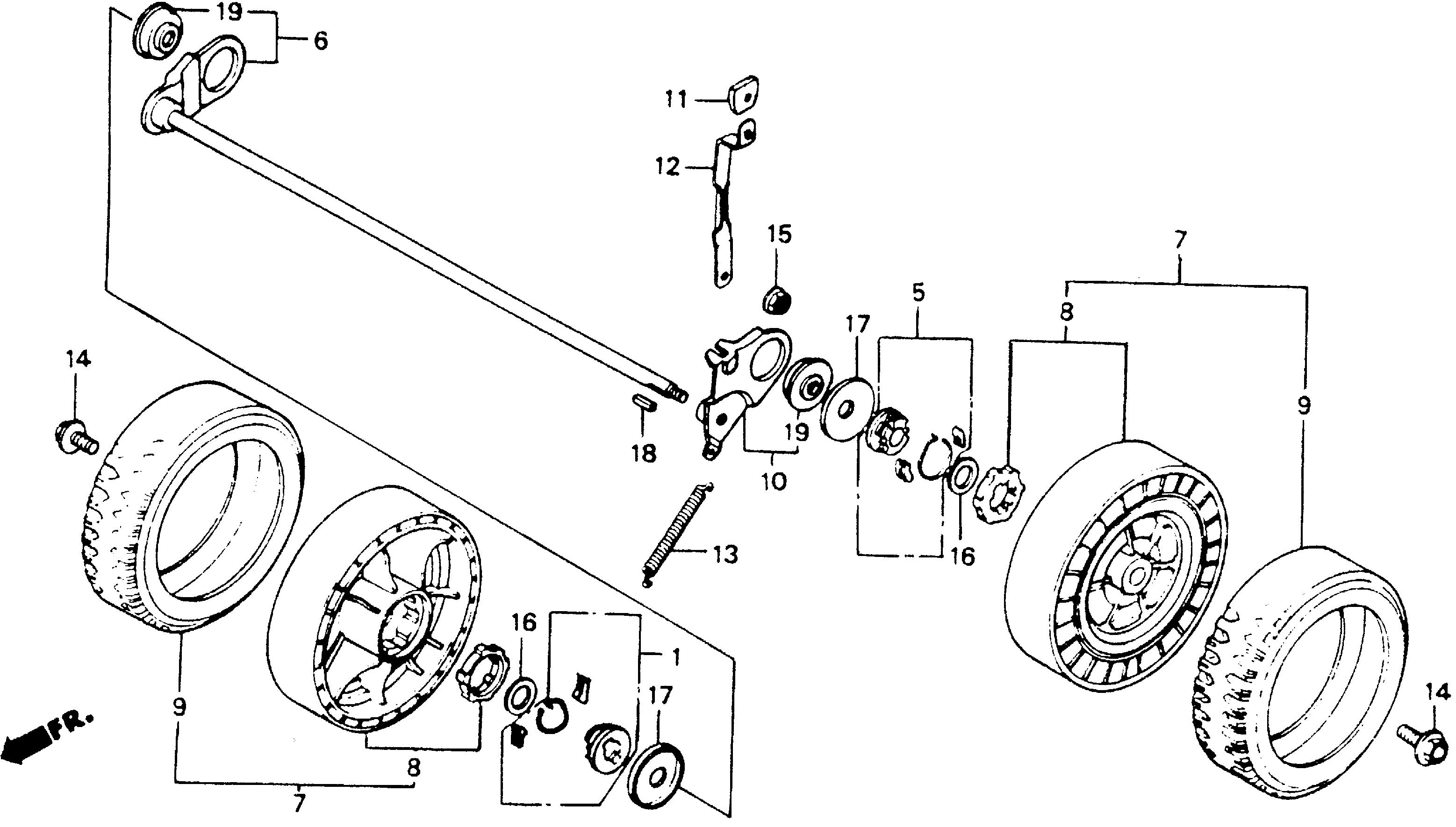
Lawn Mowers HRA HRA214 HRA214 SXA# HRA214-6000001-9999999 HRA214-SREAR WHEEL - Honda of South Georgia

Ref No
Part Number
Description
Serial Range
Qty
Price

Ref No
1
Part Number
23510-VB5-803
Description
HOLDER, R. RATCHET
Serial Range
1000001 - 9999999

Ref No
5
Part Number
23520-VB5-803
Description
HOLDER, L. RATCHET
Serial Range
1000001 - 9999999

Ref No
6
Part Number
42650-VA4-800
Description
SHAFT, RR. AXLE
Serial Range
1000001 - 9999999

Ref No
6
Part Number
42650-VA4-801
Description
SHAFT, RR. AXLE (NOT AVAILABLE)
Serial Range
1000001 - 9999999

Ref No
7
Part Number
42810-VA4-801
Description
WHEEL
Serial Range
1000001 - 9999999
Qty
Price
$54.00

Ref No
8
Part Number
42812-VA4-801
Description
HUB, WHEEL (NA USE ALT:42810-VA3-J00)
Serial Range
1000001 - 9999999

Ref No
9
Part Number
42751-VA3-J00
Description
TIRE (8 INCH)
Serial Range
1000001 - 9999999
Qty
Price
$25.96

Ref No
10
Part Number
42940-VA4-800
Description
ARM, L. RR. ADJUSTER
Serial Range
1000001 - 9999999
Qty
Price
$39.62

Ref No
11
Part Number
42952-VA4-000
Description
GRIP, ADJUSTER
Serial Range
1000001 - 9999999
Qty
Price
$6.08

Ref No
12
Part Number
42961-VA4-800
Description
PLATE, RR. ADJUSTER
Serial Range
1000001 - 9999999
Qty
Price
$21.28

Ref No
13
Part Number
42992-VA4-000
Description
SPRING, RR. BALANCER
Serial Range
1000001 - 9999999
Qty
Price
$13.98

Ref No
14
Part Number
90110-VA4-000
Description
BOLT, WHEEL
Serial Range
1000001 - 9999999
Qty
Price
$5.00

Ref No
15
Part Number
90309-428-731
Description
NUT, FLANGE (M8X1.25) (SELF-LOCK)
Serial Range
1000001 - 9999999
Qty
Price
$5.48

Ref No
16
Part Number
90551-VA4-800
Description
WASHER (16MM)
Serial Range
1000001 - 9999999
Qty
Price
$4.42

Ref No
17
Part Number
90555-VA4-800
Description
WASHER, WHEEL
Serial Range
1000001 - 9999999
Qty
Price
$7.46

Ref No
18
Part Number
90746-VA4-000
Description
KEY (4X4X11) (NOT AVAILABLE)
Serial Range
1000001 - 9999999

Ref No
19
Part Number
91054-VA4-800
Description
BEARING, RADIAL BALL
Serial Range
1000001 - 9999999
Qty
Price
$28.64