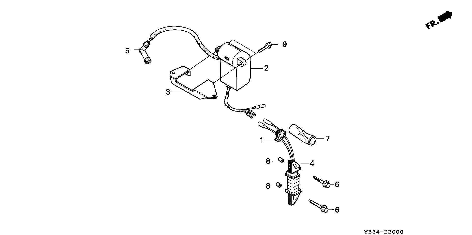
Water Pumps WB WB30 WB30T DRA WZAN-1000001-1999999 IGNITION COIL - Honda of South Georgia

Ref No
Part Number
Description
Serial Range
Qty
Price

Ref No
1
Part Number
30563-883-751
Description
GROMMET, WIRE (C.D.I.)
Serial Range
1000001 - 9999999

Ref No
2
Part Number
30580-883-T71
Description
MODULE, IGNITION CONTROL (CDI)
Serial Range
1000001 - 9999999

Ref No
3
Part Number
30586-883-000
Description
STAY, IGNITION CONTROL MODULE (CDI)
Serial Range
1000001 - 9999999

Ref No
4
Part Number
30590-883-035
Description
COIL ASSY., EXCITER
Serial Range
1000001 - 9999999
Qty
Price
$55.18

Ref No
5
Part Number
30600-889-003
Description
TERMINAL ASSY., IGNITION
Serial Range
1000001 - 9999999
Qty
Price
$22.34

Ref No
6
Part Number
90015-883-000
Description
BOLT, FLANGE (6X28) (CT200)
Serial Range
1000001 - 9999999
Qty
Price
$4.52

Ref No
7
Part Number
91408-YA0-T00
Description
TUBE, CORD (B)
Serial Range
1000001 - 9999999

Ref No
8
Part Number
94301-08140
Description
PIN, DOWEL (8X14)
Serial Range
1000001 - 9999999
Qty
Price
$3.74

Ref No
9
Part Number
95701-06012-08
Description
BOLT, FLANGE (6X12)
Serial Range
1000001 - 9999999
Qty
Price
$3.04